Бентонитовый шнур
Бентонитовый шнур
Описание
Бентонитовый шнур
Бентонитовый шнур — это современный гидроизоляционный материал, который используется для герметизации швов в бетонных конструкциях. При контакте с водой он набухает, увеличиваясь в объёме до 300–600%, и плотно заполняет все пустоты, создавая надёжный водонепроницаемый барьер. Это идеальное решение для защиты фундаментов, подвалов, бассейнов и других сооружений от грунтовых и сточных вод.


Бентонитовый шнур — это гидрофильный (набухающий) уплотнитель, который активно применяется в строительстве для гидроизоляции:
- Холодных швов бетонирования — мест, где бетон заливался в разное время.
- Стыков сборных железобетонных конструкций (например, между плитами перекрытия или стеновыми панелями).
- Вводов инженерных коммуникаций (труб, кабелей) через стены и фундаменты.
- Деформационных и усадочных швов для компенсации подвижек конструкции.
Материал изготавливается из смеси натриевого бентонита (природная глина, обладающая высоким набуханием) и синтетического каучука (бутилкаучука), который придаёт шнуру эластичность и прочность-11. Благодаря этому составу шнур не токсичен, химически стоек и безопасен для питьевой воды.
Как работает бентонитовый шнур (принцип действия).
Принцип работы материала основан на уникальном свойстве бентонитовой глины:
- Впитывание влаги: При контакте с водой или водным раствором бетона шнур начинает впитывать влагу.
- Набухание: Глина увеличивается в объёме в несколько раз (в зависимости от состава и производителя).
- Герметизация: Набухшая масса под давлением заполняет все поры, микротрещины и неровности шва, создавая плотный, водонепроницаемый гель.
- Долговечность: Материал выдерживает множество циклов «намокание-высыхание», не теряя своих свойств-23.
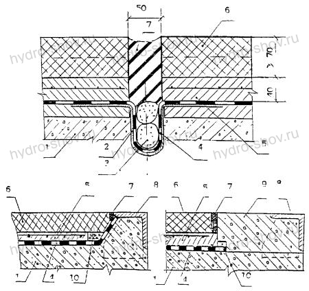
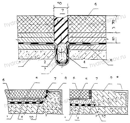
Важное условие: Шнур эффективно работает только в зажатом пространстве (внутри бетонной конструкции). Именно давление бетона заставляет его заполнять все пустоты и создавать надёжный барьер.
Технические характеристики и размеры.
В нашем каталоге представлены бентонитовые шнуры прямоугольного и квадратного сечения для любых строительных задач. Вы можете купить гидроизоляционный шнур подходящего размера:
- Размер (сечение), мм.: 10х20;
- Вес 1 пог.м, кг.: 0,32;
- Длина в бухте, пог.м.: 80;
- Цена за пог.м, руб.: 141,75;
- Размер (сечение), мм.: 15х25;
- Вес 1 пог.м, кг.: 0,60;
- Длина в бухте, пог.м.: 40;
- Цена за пог.м, руб.: 251,62;
- Размер (сечение), мм.: 20х25;
- Вес 1 пог.м, кг.: 0,80;
- Длина в бухте, пог.м.: 40;
- Цена за пог.м, руб.: 330,75;
- Размер (сечение), мм.: 20х40;
- Вес 1 пог.м, кг.: 1,28;
- Длина в бухте, пог.м.: 20-25;
- Цена за пог.м, руб.: 529,25;
- Размер (сечение), мм.: 25х40;
- Вес 1 пог.м, кг.: 1,60;
- Длина в бухте, пог.м.: 20;
- Цена за пог.м, руб.: 661,50;
- Размер (сечение), мм.: 30х30 (квадратный);
- Вес 1 пог.м, кг.: 1,44;
- Длина в бухте, пог.м.: 24;
- Цена за пог.м, руб.: 595,37;
- Размер (сечение), мм.: 30х40;
- Вес 1 пог.м, кг.: 1,92;
- Длина в бухте, пог.м.: 15;
- Цена за пог.м, руб.: 793,75;
- Размер (сечение), мм.: 30х30 (квадратный);
- Вес 1 пог.м, кг.: 1,44;
- Длина в бухте, пог.м.: 24;
- Цена за пог.м, руб.: 595,37;
Данные актуальны на момент публикации и соответствуют информации на странице товара.
Ключевые преимущества (почему выбирают нас?).
- Надёжность: Создаёт самогерметизирующийся барьер, который не пропускает воду даже при высоком гидростатическом давлении (до 7–10 атмосфер)-12.
- Долговечность: Срок службы сравним со сроком службы самой конструкции, материал не теряет свойств со временем-24.
- Простота монтажа: Не требует специального оборудования или сложных навыков. Укладка выполняется вручную.
- Универсальность: Подходит для всех типов бетонных конструкций (фундаменты, стены, перекрытия, резервуары, колодцы).
- Экономичность: Стоимость бентонитового шнура значительно ниже, чем у традиционных гидрошпонок, а эффективность сопоставима.
- Экологичность: Материал безопасен для человека и окружающей среды, допускается контакт с питьевой водой-21.
Правильный монтаж — залог эффективной гидроизоляции. Вот простая инструкция:
- Подготовка поверхности: Очистите шов от пыли, грязи, масляных пятен и рыхлого бетона. При необходимости обработайте грунтовкой для улучшения адгезии-40.
- Нарезка и укладка: Отрежьте шнур необходимой длины (по размеру шва). Укладывайте его встык, без зазоров, вдоль всего шва.
- Фиксация: Закрепите шнур с помощью специального клея-герметика, дюбель-гвоздей (с шагом 30–50 см) или вязальной проволоки (для стыков с арматурой)-40.
- Проверка: Убедитесь, что шнур плотно прилегает к основанию по всей длине.
- Бетонирование: Выполните заливку бетона. Старайтесь избегать контакта шнура с водой до этого момента, чтобы предотвратить преждевременное набухание.
- Монолитное строительство: Герметизация холодных и рабочих швов в фундаментных плитах, стенах подвалов, лифтовых шахтах.
- Гидротехнические сооружения: Уплотнение швов в бассейнах, резервуарах для воды, очистных сооружениях, каналах и коллекторах-12.
- Инженерные коммуникации: Изоляция мест ввода труб (водопровод, канализация, кабели) в подвалы и техподполья.
- Колодцы и кессоны: Герметизация стыков между железобетонными кольцами для защиты от верховодки и грунтовых вод-.
- Ремонтные работы: Ликвидация протечек и герметизация трещин в уже существующих конструкциях.
Многие задаются вопросом: что лучше выбрать? Вот основные отличия:
- Принцип действия:
- Бентонитовый шнур: активный: набухает и заполняет шов;
- Гидрошпонка (ПВХ): пассивный: физический барьер.
- Работа с неровностями:
- Бентонитовый шнур: идеально: заполняет любые микронеровности-30;
- Гидрошпонка (ПВХ): требует идеально ровной поверхности.
- Монтаж:
- Бентонитовый шнур: простой, не требует специального оборудования;
- Гидрошпонка (ПВХ): сложный, требует фиксации в опалубке.
- Стоимость:
- Бентонитовый шнур: ниже;
- Гидрошпонка (ПВХ): выше.
- Ремонтопригодность:
- Бентонитовый шнур: при повреждении легко заменить участок;
- Гидрошпонка (ПВХ): ремонт затруднён.
Вывод: Для стандартных задач (фундамент, подвал, ввод труб) оптимален бентонитовый шнур. Для особо ответственных конструкций с высокими динамическими нагрузками может потребоваться комбинация материалов.
Часто задаваемые вопросы (FAQ).
1. Что такое бентонитовый шнур?
Это набухающий гидроизоляционный материал для герметизации швов и стыков в бетонных конструкциях.
2. Где используется гидрофильный шнур?
В фундаментах, подвалах, резервуарах, бассейнах, колодцах и местах ввода инженерных коммуникаций.
3. Можно ли использовать при высоком уровне грунтовых вод?
Да, материал эффективно защищает от воды при правильном монтаже и выдерживает высокое гидростатическое давление.
4. Какой размер шнура выбрать?
Выбор зависит от ширины и глубины шва. Шнур должен заполнять шов с небольшим натягом. Наши специалисты всегда помогут с расчётом.
5. Как купить бентонитовый шнур оптом?
Оставьте заявку на сайте или свяжитесь с нашим менеджером. Для оптовых клиентов действуют индивидуальные условия.
Почему стоит купить бентонитовый шнур именно у нас?
- Всегда в наличии на собственном складе.
- Широкий выбор размеров и форм сечения (прямоугольные, квадратные).
- Помощь в подборе материала под вашу конкретную задачу.
- Быстрая доставка по всей России.
- Проверенное качество от ведущих производителей.
Остались вопросы? Свяжитесь с нами, и мы поможем подобрать идеальное решение для вашей гидроизоляции!

