Гернитовый шнур
Гернитовый шнур
Описание
Гернитовый шнур
Гернитовый шнур (ПРП – пористая резина профилированная) – эластичный уплотнитель с закрытой ячеистой структурой. Предназначен для герметизации межпанельных швов, деформационных стыков, оконных и дверных блоков, а также в качестве шнура под герметик для создания правильной геометрии шва.
Изготавливается по ГОСТ 19177-81 из синтетического каучука. Работает в режиме сжатия (до 50%), компенсирует температурные и усадочные деформации, снижает расход финишного герметика на 30–40%.
Почему именно гернит, а не пенополиэтилен (Вилатерм)?
Гернит имеет закрытую ячеистую структуру и внешнюю водонепроницаемую плёнку – он не впитывает влагу, не разрушается под УФ и не крошится со временем. Это долговечное решение для ответственных узлов зданий.
Технические характеристики (по ГОСТ):
| Параметр | Значение |
| Материал | Пористая резина (каучук + пластификаторы) |
| Структура | Закрытая ячеистая, с водоотталкивающей пленкой |
| Форма | Круглая (К) / Прямоугольная (П) |
| Диаметр | 8, 10, 15, 20, 25, 30, 35, 40 мм (до 100 мм под заказ) |
| Плотность | 300, 400, 500, 600 кг/м³ |
| Коэффициент теплопроводности | 0,039–0,044 Вт/(м·К) |
| Рабочая температура | от -60°C до +70°C |
| Водопоглощение | не более 5% |
| Овальность (высший сорт) | ≤15% от номинального диаметра |
Представленные на сайте артикулы (ПРП-40К.8.600 … ПРП-40К.40.600) – это гернитовые шнуры круглого сечения плотностью 600 кг/м³, оптимальные для фасадных и межпанельных работ.
Области применения.
- Герметизация межпанельных швов в панельных и блочных домах
- Уплотнение деформационных швов зданий и сооружений
- Фасадные работы – стыки утеплителя, вентфасадов
- Установка окон и дверей (заполнение монтажного зазора под пену/герметик)
- Кровельные работы – примыкания, ендовы
- Шумоизоляция в автомобилях и промышленности
- Герметизация стыков ЖБИ (колодцы, лотки, трубы)
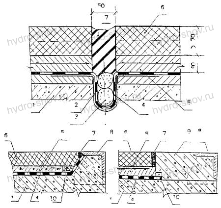
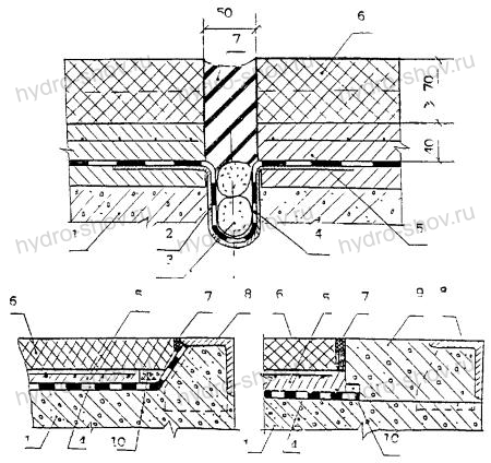
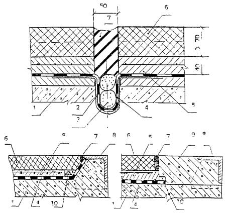
Особенно эффективен как шнур под герметик (полиуретановый, тиоколовый, MS-полимер) – формирует задний край, исключает трёхстороннюю адгезию, продлевает срок службы шва.
Преимущества гернитового шнура.
- Высокая эластичность: сохраняет упругость после сжатия, компенсирует подвижки конструкций;
- Закрытая пористость: не впитывает воду, не разрушается при замерзании;
- Устойчивость к УФ и озону: не выцветает и не трескается на солнце;
- Тепло- и звукоизоляция: снижает теплопотери и уличный шум;
- Экономия герметика: заполняет 60–70% объёма шва;
- Скорость монтажа: укладывается вручную или оправкой без спецоборудования;
- Соответствие ГОСТ: гарантированные свойства, подтверждённые сертификатами
1. Выбор диаметра.
Правило: диаметр шнура = ширина шва + 20–30% (на сжатие).
| Ширина шва, мм | Рекомендуемый Ø шнура, мм |
| 10-15 | 20 |
| 15-20 | 25 |
| 20-25 | 30 |
| 25-30 | 35 |
| 30-35 | 40 |
| 35-40 | 45-50 |
Для вертикальных швов берите на 5 мм больше, для горизонтальных – по таблице.
2. Плотность (жёсткость).
- 300–400 кг/м³ – мягкий, для окон, дверей, вентиляции
- 500–600 кг/м³ – жёсткий, для фасадов, межпанельных швов, ЖБИ
- Очистить шов от пыли, грязи, остатков старого герметика.
- Подобрать шнур нужного диаметра (с натягом).
- Уложить шнур без осевого растяжения – с помощью деревянной или пластиковой оправки и резинового молотка.
- Обеспечить равномерное сжатие по всей длине шва.
- Нанести герметик (слой 3–5 мм поверх шнура).
Ошибка: укладка шнура меньшего диаметра, чем шов – он не будет работать, герметик провалится.
Правильно: шнур должен входить в шов с усилием и оставаться в сжатом состоянии.
Отличие от бентонитового шнура.
- Материал:
- Гернитовый шнур: пористая резина;
- Бентонитовый шнур: натриевый бентонит в оболочке;
- Механизм:
- Гернитовый шнур: упругое сжатие;
- Бентонитовый шнур: набухание при контакте с водой;
- Где применяют:
- Гернитовый шнур: сухие и нормальные условия, уплотнение швов;
- Бентонитовый шнур: гидроизоляция протечек (подвал, стык вода/бетон);
- Нужен ли контакт с водой:
- Гернитовый шнур: нет;
- Бентонитовый шнур: да, для активации;
Совет: на фасадах – гернит. В подземных паркингах – бентонит + гернит.
Ассортимент и цены.
- Артикул: ПРП-40К.8.600;
- Диаметр, мм: 8;
- Вес, кг/пог.м: 0,08;
- Длина бухты, пог.м.: 400;
- Цена, руб./пог.м.: 37,50;
- Артикул: ПРП-40К.10.600;
- Диаметр, мм: 10;
- Вес, кг/пог.м: 0,10;
- Длина бухты, пог.м.: 300;
- Цена, руб./пог.м.: 46,25;
- Артикул: ПРП-40К.15.600;
- Диаметр, мм: 15;
- Вес, кг/пог.м: 0,15;
- Длина бухты, пог.м.: 120;
- Цена, руб./пог.м.: 69,50;
- Артикул: ПРП-40К.20.600;
- Диаметр, мм: 20;
- Вес, кг/пог.м: 0,30;
- Длина бухты, пог.м.: 90;
- Цена, руб./пог.м.: 117,37;
- Артикул: ПРП-40К.25.600;
- Диаметр, мм: 25;
- Вес, кг/пог.м: 0,40;
- Длина бухты, пог.м.: 50;
- Цена, руб./пог.м.: 167,50
- Артикул: ПРП-40К.30.600;
- Диаметр, мм: 30;
- Вес, кг/пог.м: 0,50;
- Длина бухты, пог.м.: 50;
- Цена, руб./пог.м.: 206,62
- Артикул: ПРП-40К.35.600;
- Диаметр, мм: 35;
- Вес, кг/пог.м: 0,70;
- Длина бухты, пог.м.: 30;
- Цена, руб./пог.м.: 293,00.
- Артикул: ПРП-40К.40.600;
- Диаметр, мм: 35;
- Вес, кг/пог.м: 0,70;
- Длина бухты, пог.м.: 30;
- Цена, руб./пог.м.: 293,00.
*Возможна поставка других диаметров (до 100 мм) и плотности (300–600 кг/м³) под заказ. Срок изготовления – от 3 рабочих дней.*
Помогаем в подборе и проектировании.
Мы не просто отгружаем материалы – мы помогаем подобрать оптимальное решение под ваш объект:
- Расчёт диаметра и плотности под конкретный тип шва (горизонтальный, вертикальный, деформационный)
- Рекомендации по применению – выбор герметика, оправки, технологии монтажа
- Консультации по узлам и проектным решениям – подготовка спецификаций, схем герметизации
- Помощь в проектировании – если у вас нет готового узла, мы рассчитаем и предложим оптимальный пирог шва
Пришлите чертёж или фото шва – мы бесплатно подберём диаметр и плотность гернитового шнура.
Почему покупать гернит у нас?
- Сертифицированный товар по ГОСТ 19177-81 – паспорта и протоколы испытаний
- Постоянное наличие на складе – отгрузка в день заказа
- Техническая поддержка – инженеры-строители на связи
- Быстрая доставка по Москве и всей РФ
- Оптовые цены – от 1 бухты до вагона
- Работаем с проектами – помогаем подготовить сметы и КС-2
1. Что такое гернитовый шнур и для чего он нужен?
Это уплотнитель из пористой резины для заполнения швов перед нанесением герметика. Он экономит материал и не даёт шву разрушаться.
2. Какой диаметр выбрать для межпанельного шва 25 мм?
Берите шнур диаметром 30–35 мм – он сожмётся и плотно заполнит стык.
3. Можно ли использовать гернит на улице в мороз?
Да, рабочая температура до -60°C (ПРП-60) – материал остаётся эластичным.
4. Чем гернитовый шнур лучше вспененного полиэтилена?
У гернита закрытые поры и плёнка – он не впитывает воду, не гниёт и не вымывается.
5. Какой герметик подходит поверх гернита?
Полиуретановый, тиоколовый (тиокол), MS-полимер, силиконовый – все совместимы.
От 30 до 400 пог. м в зависимости от диаметра (см. таблицу выше).

